Opěrné kroužek se používá ve spojení s O-kroužkem nebo hvězdným kroužkem, aby se zabránilo vtlačení těsnicího kroužku do mezery na nízkotlaké straně pod působením tlaku. Jak se tlak neustále zvyšuje, těsnicí kroužek je poškozen „vytlačováním“ a nakonec se nepodaří utěsnit. Pokud se použije opěrná kroužek, lze zabránit „vytlačování“ těsnicího kroužku. Opěrné kroužek je proto doplněkem k těsnicím kroužku. Nejedná se o samotné těsnění, ale zvyšuje rozsah pracovního tlaku těsnicího kroužku.
Opěrné kroužek se používá ve spojení s O-kroužkem, aby se zabránilo „vytlačování“, účinně chrání O-kroužek, zvyšuje jeho životnost a umožňuje větší těsnicí mezeru, čímž se snižuje náklady na zpracování.
Funkce a aplikace produktu:
Forma a typ struktury opěrného prstence
Technické údaje
Pracovní tlak: Statická těsnění může dosáhnout asi 200MPa (v závislosti na materiálu a typu těsnění opěrného kroužku) může reciproční těsnění dosáhnout asi 40 MPA. Otočení houpačky/pomalé rychlosti může dosáhnout asi 15 MPA.
Rychlost: Vraťte a rotace mohou dosáhnout asi 2 m/s (v závislosti na materiálu).
Objednávání standardů
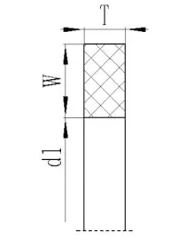
(1) Opěrné kroužky T01 se skládají z vnitřního průměru D1, šířky W a tloušťky T.
Příklad: T01-00356 D1: 3,56*W: 1,35*T: 1,23
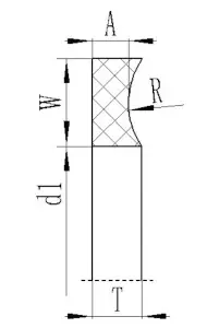
(2) Opěrné kroužky série T02 se skládají z vnitřního průměru D1, šířky W a tloušťky A a T.
Příklad: T02-027 D1: 33,78*W: 1,35*A: 1,14*T: 1,24



Adresa
No.1 Ruichen Road, Dongliuting Industrial Park, Chengyang District, Qingdao City, Shandong Province, Čína
Tel
E-mailem