Základní hydraulická těsnění Ruichen Seals zahrnují hlavně několik typů těsnění, z nichž každá má vlastní výhody. O-kroužky se široce používají při různých dynamických a statických příležitostech těsnění díky jejich nízkým výrobním nákladům a pohodlnému použití. Většina zemí formulovala řadu produktových standardů pro O-kroužky, mezi nimiž jsou běžnější americký standard (AS568), japonský standard (JISB2401) a mezinárodní standard (ISO 3601/1). Národní standardy jsou GB3452.1 a GB1235.
Těsnicí kroužek ve tvaru hvězdy je čtyřpipový těsnění s tvarem ve tvaru X, takže se také nazývá kroužek ve tvaru X. Je to zlepšení a vylepšení založené na O-kroužku. Jeho průřezové rozměry jsou stejné jako O-kroužek USA jako standard 568A a může v podstatě nahradit použití O-kroužku.
Výhody hvězdných prstenů
Ve srovnání s O-kroužky mají hvězdné prsteny menší odolnost proti tření a menší počáteční odpor, protože mezi těsnicími rty tvoří mazací dutinu. Protože jeho blesková hrana je umístěna v konkávní části průřezu, je těsnicí efekt lepší. Nekruhový průřez se účinně vyhýbá fenoménu válcování během recipročního pohybu.
Mechanismus pracovního prstenu hvězdného prstenu
Hvězdný prsten je samo-utahovací dvojitě působící těsnicí prvek. Radiální a axiální síly závisí na tlaku systému. Jak tlak stoupá, zvýší se kompresní deformace hvězdného kroužku a celková těsnicí síla se zvýší, čímž se vytvoří spolehlivé těsnění.
Jak si vybrat pečeť ve tvaru hvězdy
Pokud je znám průměr hřídele a otvoru, vyberte příslušný těsnicí kroužek ve tvaru hvězdy podle následujících kritérií:
1. Statické těsnění nebo reciproce lineárního pohybu: (1) Těsnění díry: Vnitřní průměr prstence ve tvaru hvězdy by měl být kompatibilní s drážkou nebo méně než asi 2% průměru drážky. Protože předběžná síla generovaná předběžnou kompresem může účinně zabránit kroucení těsnění ve tvaru hvězd a kroucení a válcování. (2) Těsnění hřídele: Vnitřní průměr prstence ve tvaru hvězdy by měl být stejný nebo přiměřeně větší než vnější průměr hřídele asi 0,2 ~ 0,3 mm, nebo může být asi o 1% větší než vnější průměr hřídele. Výsledkem je, že pečeť bude snazší instalovat a mít delší životnost.
2. Rotační těsnění: Vnitřní průměr prstence ve tvaru hvězdy by měl být asi o 2 ~ 5% větší než průměr hřídele, který se těsní. Protože těsnicí kroužek bude generovat tření a teplo, když se používá v rotujícím pohybu, a guma se po zahřátí zmenší (Joule Effect). Proto, aby se zajistilo, že těsnicí kroužek může být namazán a spolehlivě pracuje, musí být zvolen prsten ve tvaru hvězdy s vnitřním průměrem větší než průměr hřídele. Obvykle může těsnicí kroužek s menším průřezem splňovat potřeby statického utěsnění. Naopak, měl by být vybrán těsnicí kroužek s větším průřezem, aby splňoval dynamickou těsnění. V případě vysokého tlaku nebo velkých mezer musí být vybrán gumový materiál s vyšší tvrdostí. Nejlepší způsob je přidat opěrný kroužek PTFE, aby se zabránilo poškození vytlačování vysokého tlaku.
Potahovaný O-kroužek organicky kombinuje elasticitu a utěsnění gumy s chemickou odolností teflonu. Skládá se z vnitřního jádra silikonu nebo fluororubber a relativně tenkého teflonového fep nebo teflonového vnějšího povlaku PFA.
Materiál: Teflon FEP a Teflon PFA jsou v podstatě podobné, ale teflon PFA má lepší vysokou teplotní odolnost než teflon FEP. Použitelný teplotní rozsah teflonového FEP skořápky: -60 ℃ ~ 205 ℃ lze použít při 260 ℃ pro krátkou dobu teflon PFA Shell: -60 ℃ ~ 260 ℃ lze použít při 300 ℃ pro krátké časové výhody:
1. Vynikající chemická odolnost, vhodná pro téměř všechny chemické média
2. Široký rozsah teploty
3. Dobrá kompresní odolnost
4. anti-tření
5. Dobrý protikryt
6. odolnost proti vysokému tlaku
7. Vynikající trvanlivost těsnění a dlouhá životnost
Aplikace: Čerpadla a ventily, reakční nádoby, mechanické těsnění, filtry, tlakové nádoby, výměníky tepla, kotle, potrubí příruby, plynové kompresory atd.
Aplikační odvětví: Chemický průmysl, výroba letadel, farmaceutický průmysl, ropa a chemické přepravy a rafinace, filmový průmysl, chladicí inženýrství, průmysl zpracování potravin, průmysl tvorby papíru, výroba barviv, postřik barvy atd.
Instalační pokyny pro těsnění kroužků
1. Části, kde jsou těsnicí kroužky instalovány nebo procházeny, musí být hladké, bez otřepů, drážků a ostrých rohů. Drsnost vnitřního otvoru by měla dosáhnout 1,6μ a drsnost hřídele by měla dosáhnout 0,8UM.
2. Naneste čistý lehký olej nebo mazivo, abyste namazali povrch těsnicího kroužku a příslušné kontaktní části.
3. Pokud je obtížné instalovat těsnicí kroužek na šachtu, ponořte jej do horké vody na několik minut, abyste jej rozšířili. Tento změkčený a rozšířený O-kroužek se snáze instaluje. Nainstalujte O-kroužek, když je horký, a jeho velikost se po ochlazení vrátí do své původní velikosti.
4. Neohýbejte O-kroužek příliš násilně, jinak to způsobí vrásky v teflonu a ovlivní jeho použití.
Doporučená komprese potahovaného O-kroužku je následující:
Statický stav těsnění: 15%-20%
Dynamický stav těsnění: 10%-12%
Pneumatický stav: 7%-8%
Skutečná komprese by měla brát v úvahu pracovní podmínky, zejména pracovní tlak v utěsnění a další faktory.
Funkce a aplikace produktu:
| Tabulka parametru O-kroužku |
|
|
|
|
Statická těsnění | Dynamické těsnění |
| Pracovní tlak | Bez udržení prstenu, 20MPA max S opěrným prstenem, 40 MPa Max, speciální opěrné prsten 200MPA max | Bez udržení prstenu, 5MPA max S opěrným prstenem, vyšší tlak |
| Rychlost | PŘIPOJENÍ PŘIPOJENÍ 0,5 m/S MAX, MAX otočení 2 m/s | |
| Teplota | Obecné použití: -30 ~+110, speciální guma: -60 ~+250, rotace: -30 ~+80 | |
| Střední | Viz část materiálů | |
| Norma | Průřez O-kroužku W |
|
|||||
| Americký standard jako 568 British Standard BS 1516 | 1.78 | 2.62 | 3.52 | 5.33 | 6.99 | - | |
| Japonský standard It B2401 | 1.9 | 2.4 | 3.1 | 3.5 | 5.7 | 8.4 | |
| Mezinárodní standard ISO 3601/1 Německý standard DIN 3771/1 Čínský standard CB 3452.1 | 1.8 | 2.65 | 3.55 | 5.30 | 7.00 | - | |
| Preferované velikosti metrik | 1.0 | 1.5 | 2.0 | 2.5 | 3.0 | 3.5 | |
| 4.0 | 4.5 | 5.0 | 5.5 | 6.0 | 7.0 | ||
| 8.0 | 10.0 | 12.0 |
|
|
|
||
| Americký standard jako 568 (Série 900) | 1.02 | 1.42 | 1.63 | 1.83 | 1.98 | 2.08 | |
| 2.21 | 2.46 | 2.95 | 3.00 |
|
|
|
|
| Rozsah aplikací hvězdných prstenů je velmi široký. Vyberte správný materiál podle teploty, tlaku a média. Aby se přizpůsobil hvězdný prsten dané aplikaci, je třeba zvážit vzájemná omezení mezi všemi pracovními parametry. Při určování rozsahu aplikací je třeba zvážit maximální teplotu, kontinuální pracovní teplota a provozní cyklus. Při rotujících aplikacích je třeba zvážit také zvýšení teploty způsobené teplem tření. | |||||
| Technické parametry | Dynamické těsnění | Statická těsnění |
|
||
| PŘIPOJENÍ NÁVRHU | Rotační pohyb |
|
|||
| Pracovní tlak (MPA) | S opěrným prstenem | 30 | 15 | 40 |
|
| Bez udržení prstenu | 5 | - | 5 |
|
|
| Rychlost (m/s) | 0.5 | 2.0 | - |
|
|
| Teplota (℃) | Obecné příležitosti: -30 ℃ ~+110 ℃ |
|
|||
| Speciální materiály: -60 ℃ ~+200 ℃ |
|
||||
| Příležitosti rotace: -30 ℃ ~++80 ℃ |
|
||||
Materiál hvězdného prstenu:
Materiálem je obecně nitrilní guma Shaw A70 NBR.
Potahovaný O-kroužek:
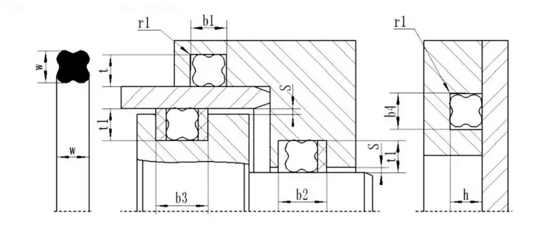
Schematický diagram drážky zapouzdřeného O-kroužku
Tabulka rozměrů drážky zapouzdřeného O-kroužku (doporučené)
| D. Průměr drátu d | A (mm) | B (mm) | ||
| Statická těsnění | Dynamické těsnění | Pneumatické těsnění | ||
| 1.78 | 2.36/2.49 | 1,42/1,52 | 1,55/1,60 | 1,63/1,65 |
| 2.62 | 3,56/3,68 | 2.08/2.21 | 2.29/2.36 | 2.39/2.44 |
| 3.53 | 4,75/4,88 | 2,82/3.00 | 3.10/3.18 | 3.22/3.28 |
| 5.33 | 7.14/7.26 | 4.27/4,52 | 4.67/4,80 | 4,90/4,95 |
| 6.99 | 9.63/9,65 | 5,59/5,89 | 6.15/6,27 | 6,43/6,48 |
Ruichen Seal PTFE SEAL Instalation Guide
Ⅰ. Průvodce instalací
1. Těsnění musí být nainstalováno na předem naložené straně, směrem tlaku.
2. Tělo válce a pístová tyč musí být vyrobeny s push-in zkosení, které splňují požadavky vzorků naší společnosti.
3. ostré hrany musí být bez otřepů a zaoblených nebo zkosených.
4. Vlákna, drážky vodicího kroužku atd. Měly by být pokryty, protože těsnění nelze protlačit drážky, vrtanými otvory nebo drsnými povrchy.
5. Jakýkoli prach, trosky nebo jiné cizí částice musí být pečlivě odstraněny.
6. Nástroje s ostrými hranami by se neměly používat.
7. PTFE těsnicí kroužky se snadněji expandují ve vyhřívaném oleji nebo vodě (asi 80 ~ 120 stupňů) a snadno se obnoví do původního tvaru.
8. Pokud je třeba projít rty těsnění skrz otvor pro tlak oleje, měla by být použita plastová tyčinka k jemnému tlačení rtu, aby se zabránilo zkosení otvoru v poškození utěsňovacího rtu. Otvory válce by měly být zkoseny. (Obrázek 3)
Ⅱ. Metoda instalace
Otevřené (rozdělené) drážky lze nainstalovat bez nástrojů.
Instalace těsnění pístových tyče uzavřené drážky (obrázek 1)
1. Vyčistěte a olej všechny substráty těsnění, těsnění a instalační nástroje.
2. Umístěte gumový kroužek do drážky (dávejte pozor, abyste jej neotočili).
3. Zkompište těsnicí kroužek PTFE do tvaru ledvin, aniž byste vytvořili špičatý ohyb, vložte stlačený pečeť PTFE do drážky a ručně jej jemně vyrovnejte.
4. Zatlačte regenerační mazlíčku k těsnění a jemně otočte manu. Nechte to po dobu 1 minuty a vyjměte manule. Instalace je dokončena.
Instalace pístových těsnění v uzavřených drážek (obrázek 2)
1. Vyčistěte a olej všechny substráty těsnění, těsnění a instalační nástroje.
2. Umístěte gumový kroužek do drážky (dávejte pozor, abyste jej neotočili).
3. Zatlačte těsnicí kroužek PTFE na vodicí rukáv a natáhněte těsnicí kroužek.
4. Zatlačte natažený těsnicí kroužek do pístové drážky.
5. Zatlačte korekční pouzdro na těsnicí kroužek a otočte korekční rukáv současně. Po opuštění po dobu 1 minuty odstraňte korekční pouzdro a instalace je dokončena.
Poznámka: 1. Pokud produkt uvedený ve vzorku naší společnosti nelze nainstalovat v uzavřené drážce, poraďte se s naší společností, ale není vhodný pro otevřenou drážku.
2. výše uvedená instalace těsnění PTFE se nevztahuje na všechna těsnění PTFE. V případě potřeby se obraťte na naši společnost.



























Adresa
No.1 Ruichen Road, Dongliuting Industrial Park, Chengyang District, Qingdao City, Shandong Province, Čína
Tel
E-mailem