Qingdao Ruichen Sealing Technology Co., Ltd.
Qingdao Ruichen Sealing Technology Co., Ltd.
Produkty
X

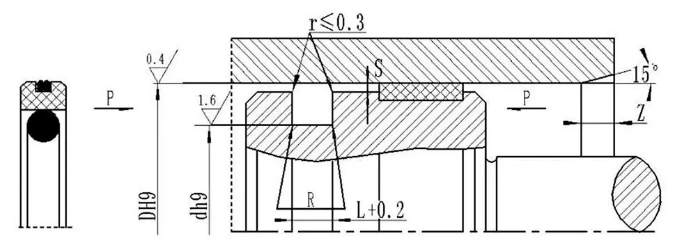
Složené těsnění z PTFE typu AQ

Máte-li zájem o zakoupení složeného těsnění AQ typu PTFE od Ruichen Seal, nabízíme vysoce flexibilní možnosti přizpůsobení materiálu: elastomery lze vybrat z různých druhů pryží, včetně NBR a FKM. Kromě standardního PTFE3 podporují těsnicí kroužky také různé konstrukční materiály, včetně PTFE1/PTFE2/PTFE4.

Složené těsnění AQ typu PTFE je široce přizpůsobitelné různým médiím, teplotám a pracovním podmínkám, což výrazně zlepšuje kompatibilitu a životnost těsnicího systému.


Použitelné pracovní podmínky

Tlak Mpa

Teplota ℃

Rychlost m/s

Střední

≤40

-35~+100 (NBR)

≤2

Hydraulický olej, emulze, voda, plyn atd.

-20~+200 (FKM)


Výběr materiálu

1. Dostupné elastomerní materiály: nitrilkaučuk R01 (NBR), fluorkaučuk RO2 (FKM) atd.

2. Materiál těsnicího kroužku: Standardní materiál: PTFE3; další dostupné materiály: PTFE1, PTFE2 a PTFE4.

Příklad objednávky AQ080080 x64,5x6,3(DxdxL)PTFE3-RO1 PTFE3 RO1-Kód materiálu



Hot Tags: Složené těsnění z PTFE typu AQ
Odeslat dotaz
Kontaktní informace
Získejte konkurenční ceny, technickou podporu a rychlé reakce. Zašlete své specifikace do Ruichen pro řešení na míru. K dispozici jsou vzorky zdarma.
X
Používáme cookies, abychom vám nabídli lepší zážitek z prohlížení, analyzovali návštěvnost webu a přizpůsobili obsah. Používáním tohoto webu souhlasíte s naším používáním souborů cookie. Zásady ochrany osobních údajů
Odmítnout Přijmout