Qingdao Ruichen Sealing Technology Co., Ltd.
Qingdao Ruichen Sealing Technology Co., Ltd.
Produkty
X

Stěrací kroužek

Kombinované prachové těsnění s dvojitým břitem uvedené na trh společností Ruichen Seal (známý výrobce a dodavatel těsnění pístnice v Číně) se skládá z plněného PTFE těsnicího kroužku a O-kroužku. Má obousměrnou ochranu proti prachu a funkce automatické kompenzace opotřebení, nízké tření, dlouhou životnost a silnou přizpůsobivost a je široce používán v různých scénářích průmyslového pohybu, jako je vratný, výkyvný a spirálový.

Výkon a aplikace

Kombinované stírací těsnění s dvojitým břitem je obousměrné stírací těsnění sestávající z dvoubřitého stíracího kroužku plněného PTFE a O-kroužku. O-kroužek poskytuje předpětí, kompenzující opotřebení PTFE kroužku. Je vhodný pro vratné, oscilační nebo spirálové pohyby.


Provozní podmínky

Tlak Mpa

Teplota °C

Rychlost m/s

Střední

-

-35~+100 (odpovídající O-kroužek NBR)

6

Hydraulický olej, emulze, voda atd.

-20~+200 (odpovídající O-kroužek FKM)


Příklad objednávky

Objednejte model RCF02-80-PTFE3-R01

RCF02 - Model 80 - Průměr hřídele PTFE3 - Univerzální modifikovaný PTFE RO1 - Kód materiálu odpovídající pryže

Nitril (NBR) - R01, Fluorocarbon (FKM) - RO2

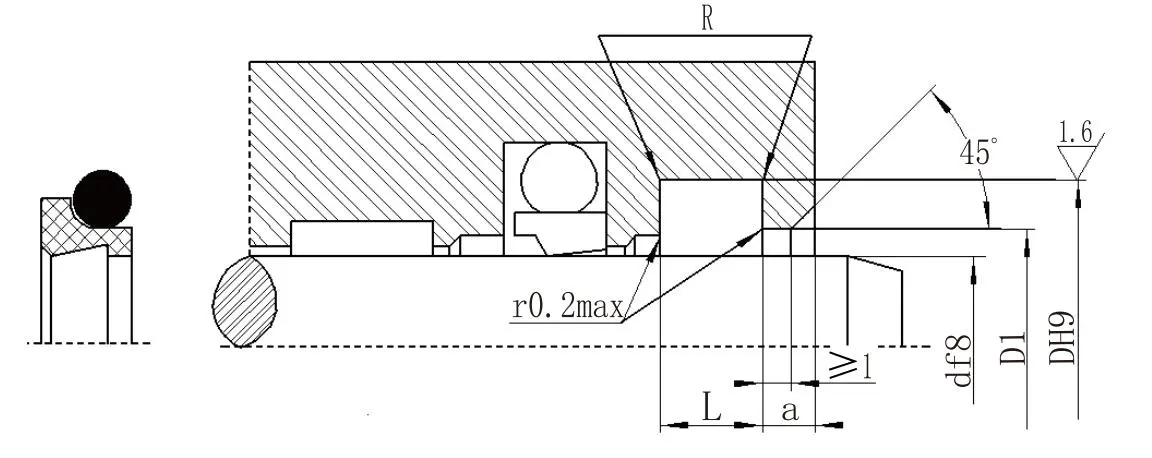
Tabulka parametrů specifikace (lze poskytnout produkty jakékoli velikosti v rámci rozsahu parametrů)

Rozsah průměru hřídele d f8

Průměr drážky D H9

Šířka drážky L+0.2

Průměr otevřeného otvoru

D1H11

Šířka otevřeného otvoru a≥

Zaoblené rohy R≤

Průměr drátu O-kroužku

d0

4~11

d+4,8

3.7

d+1,5

2

0.4

1.80

12~64

d+6,8

5.0

d+1,5

2

0.7

2.65

65~250

d+8,8

6.0

d+1,5

3

1.0

3.55

251~420

d+12,2

8.4

d+2,0

4

1.5

5.30

421~650

d+16,0

11.0

d+2,0

4

1.5

7.00

651~1500

d+20,0

14.0

d+2,5

5

2.0

8.60


Hot Tags: Stěrací kroužek
Odeslat dotaz
Kontaktní informace
Získejte konkurenční ceny, technickou podporu a rychlé reakce. Zašlete své specifikace do Ruichen pro řešení na míru. K dispozici jsou vzorky zdarma.
X
Používáme cookies, abychom vám nabídli lepší zážitek z prohlížení, analyzovali návštěvnost webu a přizpůsobili obsah. Používáním tohoto webu souhlasíte s naším používáním souborů cookie. Zásady ochrany osobních údajů
Odmítnout Přijmout